文章:170808_2 永磁同步电机与异步电机性能比较

所有者:信仰(呢称); 发布时间:2017-07-17 06:56:53; 更新时间:2017-07-17 06:56:53

阅读所需积分:0; 

简介:永磁同步电机与异步电机性能比较


永磁同步电机与异步电机相比,具有明显的优势,它效率高,功率因素高,能力指标好,体积小,重量轻,温升低,技能效果显著,较好地提高了电网的品质因素,充分发挥了现有电网的容量,节省了电网的投资,它较好地解决了用电设备中“大马拉小车”现象。


1效率及功率因素


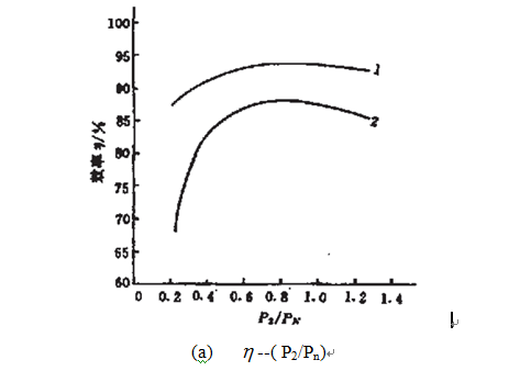
异步电机在工作时,转子绕组要从电网吸收部分电能励磁,消耗了电网电能,这部分电能最终以电流在转子绕组中发热消耗掉,该损耗约占电机总损耗的20~30%,它使电机的效率降低。该转子励磁电流折算到定子绕组后呈感性电流,使进人定子绕组中的电流落后于电网电压一个角度,造成电机的功率因数降低。另外,从永磁同步电机与异步电机的效率及功率因数曲线(图1)可以看出,异步电动机在负载率(=P2/Pn)<50%时,其运行效率和运行功率因数大幅度下降,所以一般都要求其在经济区内运行,即负载率在75%-100%之间。

图为永磁同步电动机与异步电动机的效率和功率因数

a. 异步起动永磁同步电动机    b.异步电动机

永磁同步电机在转子上嵌了永磁体后,由永磁体来建立转子磁场,在正常工作时转子与定子磁场同步运行,转子中无感应电流,不存在转子电阻损耗,只此一项可提高电机效率4%~50%。由于在水磁电机转子中无感应电流励磁,定子绕组有可能呈纯阻性负载,使电机功率因数几乎为1.从永徽同步电机与异步电机的效率及功率因数曲线(图1)可以看出,永磁同步电机在负载率>20%时,其运行效率和运行功率因数随之变化不大,且运行效率>80%。


2起动转矩


异步电机起动时,要求电机具有足够大的起动转矩,但又希望起动电流不要太大,以免电网产生过大的电压降落而影响接在电网上的其他电机和电气设备的正常运行。此外,起动电流过大时,将使电机本身受到过大电做力的冲击,如果经常起动,还有使绕组过热的危险。因此,异步电机的起动设计往往面临着两难选择。

永磁同步电机一般也采用异步起动方式,由于永磁同步电机正常工作时转子绕组不起作用,在设计永磁电机时,可使转子绕组完全满足高起动转矩的要求,例如使起动转矩倍数由异步电机的1.8倍上升到2.5倍,甚至更大,较好地解决了动力设备中“大马拉小车”的现象。


3工作温升


由于异步电机工作时,转子绕组有电流流动,而这个电流完全以热能的形式消耗掉,所以在转子绕组中将产生大量的热量,使电机的沮度升高,影响了电机的使用寿命。

由于永磁电机效率高,转子绕组中不存在电阻损耗,定子绕组中较少有或几乎不存在无功电流,使电机温升低,延长了电机的使用寿命。


4对电网运行的影响


因异步电机的功率因数低,电机要从电网中吸收大量的无功电流,造成电网、翰变电设备及发电设备中有大量无功电流,进而使电网的品质因数下降,加重了电网及枪变电设备及发电设备的负荷,同时无功电流在电网、翰变电设备及发电设备中均要消耗部分电能,造成电力电网效率变低,影晌了电能的有效利用。同样由于异步电机的效率低,要满足翰出功率的耍求,势必要从电网多吸收电能,进一步增加了电两能量的损失,加重了电网负荷。 

在永磁电机转子中无感应电流励班,电机的功率因数高,提高了电网的品质因数,使电网中不再需安装补偿器。同时,因永磁电机的高效率,也节约了电能。