文章:冲压工艺常见缺陷及产生原因

所有者:信仰(呢称); 发布时间:2018-07-24 01:56:14; 更新时间:2019-04-26 03:35:00

阅读所需积分:0; 

简介:冲压工艺常见缺陷及产生原因

冲压模具是在冲压加工中,将材料加工成零件(或半成品)的一种特殊工艺装备。


根据工艺性质分类:冲裁模、弯曲模、拉深模、成形模等。

根据工序组合程度分类:单工序模、复合模、级进模。


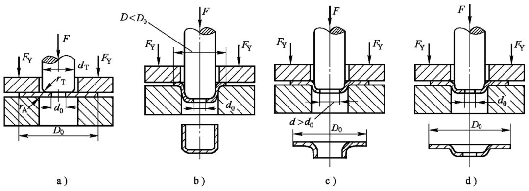
a)成形模  b)拉深模  c)翻边模  d)胀形模


冲压生产的三要素:合理的冲压工艺、先进的模具、高效的冲压设备



冲压常见缺陷及产生原因


1.落料、冲孔、修边

缺陷:毛刺过大、变形、表面划伤、尺寸不符、少孔等

(1)毛刺过大→凸凹模间隙过大或过小;刃口磨损;导向精度差;凸凹模位置不同心等。

(2)变形→孔距太小;压料板与凹模型面配合不好;间隙过大等。

(3)表面划伤→操作时有拖、拉等现象;板料在剪切过程中划伤等。

(4)尺寸不符→上料不到位;定位装置损坏或松动,位置窜动等。

(5)少孔→冲头折断;冲头长度不够等。


落料、冲孔、修边产品容易产生缺陷位置


2. 拉延


拉延产品容易产生缺陷位置


3. 翻边

缺陷:翻边不垂直、翻边高度不一致、翻边拉毛、翻边裂等。

(1)翻边不垂直→凸凹模间隙过大。

(2)翻边高度不一致→凸凹模间隙不均匀;定位不准;落料件尺寸不准。

(3)翻边拉毛→刃口有伤痕;零件表面有杂质;刃口硬度太低。

(4)翻边裂→修边时毛刺大;凸凹模间隙太小;翻边处形状有突变。


翻边产品容易产生缺陷位置


4. 折弯

缺陷:折弯角度不合格、折弯边破裂、折弯R角处有台阶等。

(1)折弯角度不合格→凸凹模间隙过大、凸凹模配合角度不匹配板材料厚薄不一。

(2)折弯边破裂→凸凹模间隙过小;折弯角度过小;冲裁力过大速度过快;板材料偏硬。

(3)折弯R角有台阶→凸凹模折弯角过大;外R角过大;折弯力过小。


折弯产品容易产生缺陷位置